Винт 104-72-22422 Komatsu
Москва
3

Цена по договоренности
Под заказ 1 шт
Следить за ценой
+7 (925) 605-90-46
Склад - Caterpillar
0.0
0 отзывов
- Описание
- Характеристики
- Совместимость
- Файлы и документы
Комплекты крепежа GET включают болты, гайки и крепёжные элементы для монтажа износных деталей. Они обеспечивают прочность соединений и безопасную работу оборудования при тяжелых землеройных задачах.
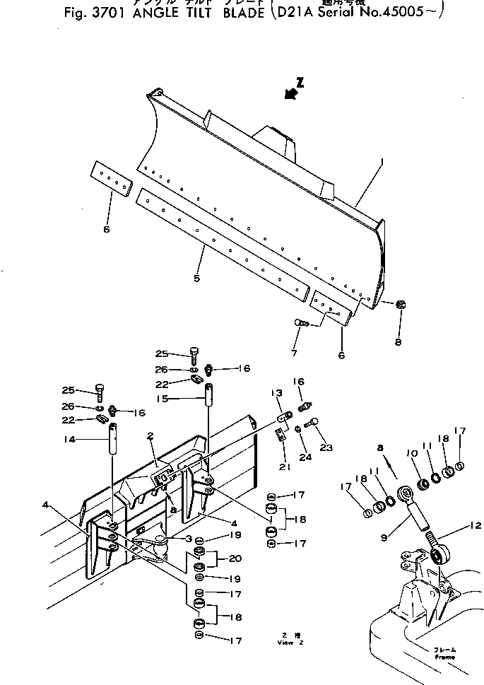
Номер на схеме: 12
Номер на схеме: 12
Состояние
Новый
Общие данные
Номер по каталогу
104-72-22422
Производитель
Komatsu
Совместимые модели
Бренд техники: Komatsu
Бульдозер
D21A-5, D20P-5A, D20A-5, D21P-5A
Нет документов













