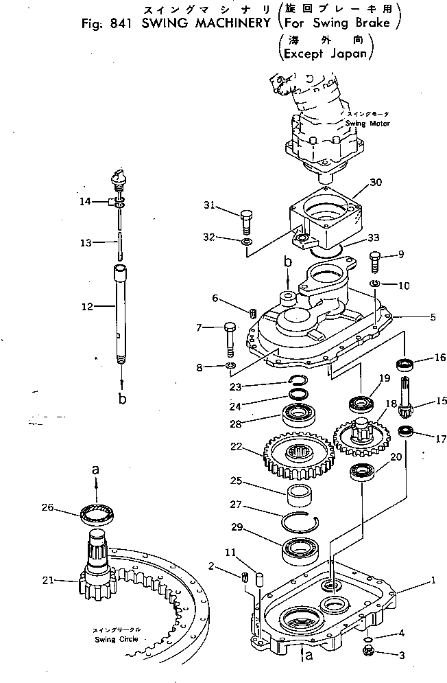
Вал 20T-26-22130 Komatsu
Москва
1
18 декабря 2025

- Описание
- Характеристики
- Файлы и документы
Валы ходовой части обеспечивают передачу нагрузки и движение между элементами трансмиссии и колесной системой. Они отличаются высокой прочностью и устойчивостью к торсионным нагрузкам.
Номер на схеме: 15
Номер на схеме: 15
Состояние
Новый
Применяемость
Бренд техники
Komatsu
Модель техники
PC40-3
Нет документов













