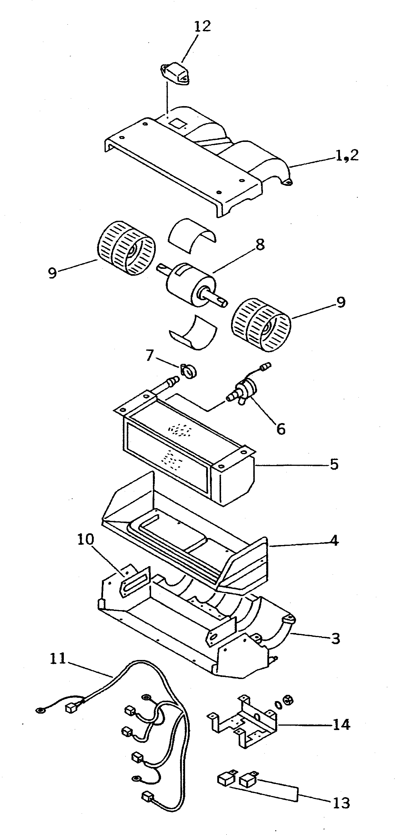
Реле CJ042-3118 Komatsu
Реле управляют электрическими цепями техники, обеспечивая безопасное включение и отключение оборудования. Они надежны и долговечны. Надежность снижает риск коротких замыканий и отказов систем.
Номер на схеме: 13
Номер на схеме: 13









