Пластина 208-01-11240 Komatsu
Пластина 208-01-11240 Komatsu
Москва
3

Цена по договоренности
Под заказ 1 шт
Следить за ценой
+7 (925) 605-90-46
Склад - Caterpillar
0.0
0 отзывов
- Описание
- Характеристики
- Совместимость
- Файлы и документы
Прочие крепежные детали обеспечивают надежное соединение элементов техники. Они выдерживают механические нагрузки и вибрации. Надежность этих компонентов снижает риск ослабления соединений и аварийных ситуаций.
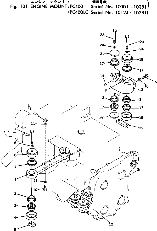
Номер на схеме: 9
Номер на схеме: 9
Состояние
Новый
Общие данные
Номер по каталогу
208-01-11240
Производитель
Komatsu
Совместимые модели
Бренд техники: Komatsu
Экскаватор
PC400-1, PC300LC-2, PC300-2, PC300-1, PC300LC-1, PC400LC-1
Нет документов






















