Лист 20P-54-71930 Komatsu
Москва
2

- Описание
- Характеристики
- Совместимость
- Файлы и документы
Прочие системные компоненты поддерживают стабильную работу техники и различных узлов. Они повышают долговечность и функциональность оборудования. Это снижает вероятность поломок и аварий.
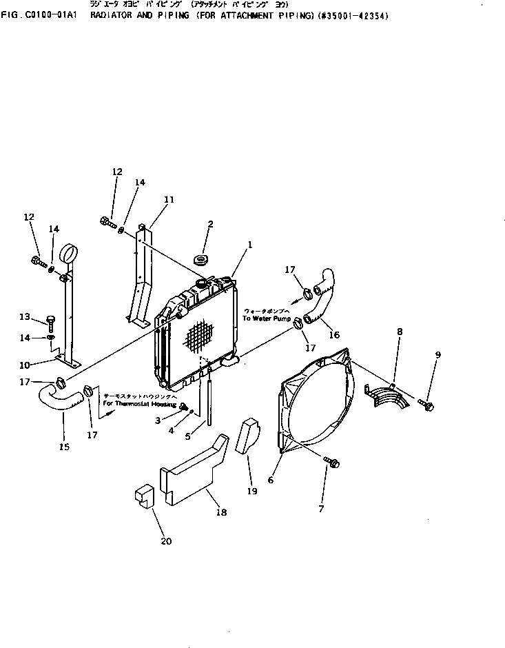
Номер на схеме: 20
Номер на схеме: 20
Состояние
Новый
Общие данные
Номер по каталогу
20P-54-71930
Производитель
Komatsu
Совместимые модели
Бренд техники: Komatsu
Экскаватор
PC20-7, PC15-3
Нет документов









