Крыша 232-957-2122 Komatsu
Москва
3

Цена по договоренности
Под заказ 1 шт
Следить за ценой
+7 (925) 605-90-46
Склад - Caterpillar
0.0
0 отзывов
- Описание
- Характеристики
- Совместимость
- Файлы и документы
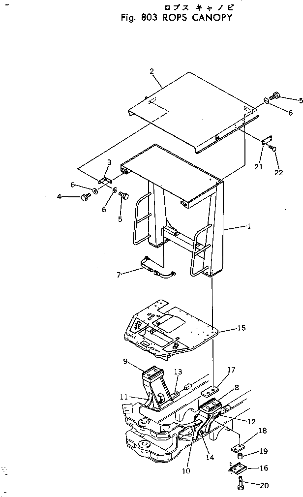
Навесы защищают кабину и оператора от дождя, солнца и падающих предметов. Они повышают комфорт работы и обеспечивают дополнительную безопасность при эксплуатации техники на открытых площадках.
Номер на схеме: 2
Номер на схеме: 2
Состояние
Новый
Общие данные
Номер по каталогу
232-957-2122
Производитель
Komatsu
Совместимые модели
Бренд техники: Komatsu
Автогрейдер
GD505A-2, GD655A-3, GD705A-4, GD705A-3
Нет документов











