Кронштейн 287-35-11340 Komatsu
Москва
4

- Описание
- Характеристики
- Совместимость
- Файлы и документы
Элементы крепёжной архитектуры, такие как брусы, пластины и кронштейны, обеспечивают устойчивое и точное соединение конструкционных узлов. Они используются для усиления и фиксирования деталей в широком диапазоне применений.
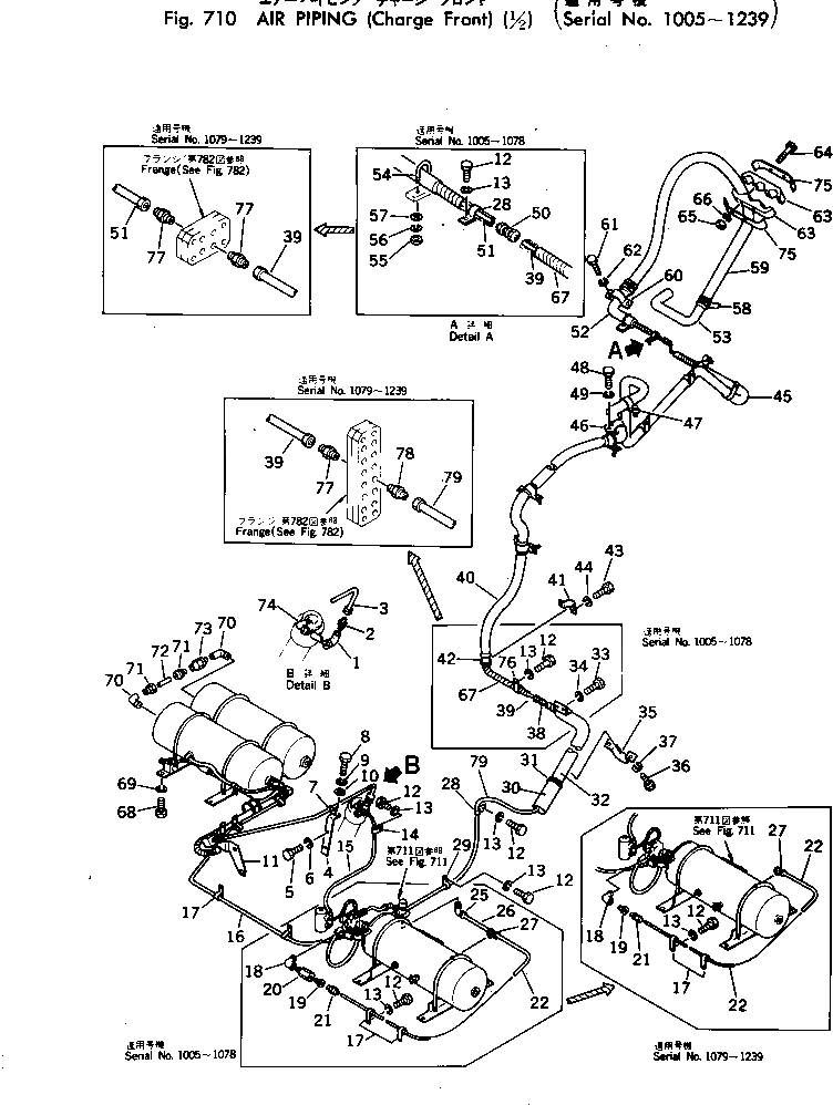
Номер на схеме: 11
Номер на схеме: 11
Состояние
Новый
Общие данные
Номер по каталогу
287-35-11340
Производитель
Komatsu
Совместимые модели
Бренд техники: Komatsu
Скрепер
WS23S-1
Нет документов















